新科迪乳业等4家公司成立,破产重整边缘的科迪集团欲金蝉脱壳?
发布时间:2020-12-28 11:44:37 | 来源:新京报 | 作者:郭铁
在科迪食品集团股份有限公司(简称“科迪集团”)被债权人申请破产重整之际,4家名称分别为新科迪乳业、新科迪速冻、五月坊食品、洛阳白马寺乳业的公司于今年11月刚刚完成注册。
12月25日,有科迪速冻前员工向新京报记者透露,目前科迪集团子公司科迪速冻已要求客户将款项打入新成立的五月坊食品公司相关账户。香颂资本沈萌分析认为,科迪集团有金蝉脱壳、转移资产之嫌。
4家新公司注册不足俩月
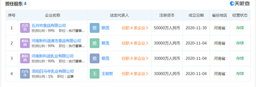
天眼查显示,目前由蔡茂担任法定代表人并持股99%的3家公司分别为河南新科迪速冻食品有限公司、河南新科迪乳业有限公司、五月坊食品有限公司。王明哲为洛阳白马寺乳业有限公司法定代表人,持股比例为99%。

上述4家公司均成立于2020年11月,注册地址均为虞城县产业聚集区工业大道西段北侧96号。其中,新科迪乳业、新科迪速冻、洛阳白马寺乳业注册资本3亿元,五月坊食品注册资本为5亿元。
从股权结构上看,上述4家新公司与科迪集团方面无任何关系,但其名称引人遐想。在东方财富股吧,有网友认为上述4家新公司分别对应科迪集团旗下科迪乳业、科迪速冻、科迪大磨坊、巨尔乳业。
12月25日,有科迪速冻前区域经理向新京报记者透露,目前科迪速冻已要求客户将款项打到五月坊食品有限公司在工商行虞城支行的相关账号上。此外,科迪速冻共拖欠84名市场员工576.5万元,至今仍有九成没有兑现,“这还不包括开除补偿和拖欠的社保。”

该经理还称,目前科迪乳业要求客户将账款打到个人账号上。他向新京报记者出示的一张“打款通”截屏显示,科迪乳业曾在今年8月向全国经销商、各市场、各业务下发通知称,“为了保障您的资金安全”,2020年8月5日起所有经销商打款将分别汇入对应的乳业常温账户和乳业低温账户,收款方均是张某个人账户。

科迪集团欲“金蝉脱壳”?
公开资料显示,科迪集团创建于1985年,旗下拥有上市公司科迪乳业及科迪速冻、科迪面业、科迪便利连锁、科迪大磨坊食品等多家子公司,实控人张清海直接持有92%的股份。以2019年7月科迪乳业拖欠奶农过亿奶款为导火索,整个“科迪系”陆续呈现出经营困难、拖欠工资、资金紧张等问题。
据天眼查公布的信息,目前科迪集团卷入多起法律纠纷,涉及金融借款合同纠纷、民间借贷纠纷、证券交易合同纠纷、买卖合同纠纷等。终本案件约达27起,执行标的总金额约为18.24亿元,未履行比例达89.1%。同时,科迪集团同时占用上市公司18.65亿资金,所持科迪乳业股权100%质押。科迪集团、科迪乳业、科迪速冻均被法院列为失信被执行企业,张清海也被列为失信被执行人。
12月22日,科迪乳业收到控股股东科迪集团转发的商丘市中级人民法院《民事裁定书》,债权人魏某某以科迪集团资产不足以清偿全部债务、明显缺乏清偿能力、仍具备重整价值为由提交了破产重整申请书。
香颂资本执行董事沈萌分析认为,从上述4家新公司的名称以及科迪集团濒临破产重整的现状来看,科迪集团与永煤集团类似,存在转移核心业务资产、金蝉脱壳之嫌,最终只剩下一个全是债务的空壳,“永煤就是在债务到期偿付前,将核心资产划转给兄弟企业,然后表示无法按期还本付息。”如果上述行为属实,沈萌认为民营企业有抽逃资产、逃废债务之嫌。
《中华人民共和国企业破产法》第三十三条规定,债务人为逃避债务而隐匿、转移财产或虚构债务或者承认不真实的债务的行为无效。
针对上述问题,新京报记者12月25日试图联系科迪集团方面,其官网已无法打开,科迪乳业电话无人接听。
责任编辑:陈思拒绝浪费 餐饮服务提供者不得设包厢费最...解决食品浪费问题,仅靠餐饮服务提供者取消包厢费还远远不够,需要相关利益主体共同关注并采取切实可行的措施。
11月中国大宗商品价格指数小幅上涨 原...11月份CCPI总指数为145.99点,比上月上涨4点,涨幅2.8%;比年初下降6.5点,降幅4.3%;比上年同期下降1.5点,降幅1%。
北京“限塑10条”正式出台,六大重点行...餐饮业塑料污染治理部分,考虑到餐饮企业咖啡搅拌棒库存消化和替代产品采购周期实际情况,将禁用不可降解一次性塑料咖啡搅拌棒的时间调整为2021年6月底。
国家市场监管总局:元旦春节密切关注茅台...12月24日,国家市场监督管理总局下发《市场监管总局办公厅关于加强2021年元旦春节期间市场价格监管的通知》,特别指出要加强茅台等名优白酒价格监管。
奶粉食用指南 守护宝宝健康成...提供奶粉喂养指南,解读奶粉配方成分,帮助新手爸妈理性选择奶粉。【详情】
点滴营养,绽放每个生命蒙牛乳业推动营养知识普及、提升国民健康水平。【详情】
中华人民共和国农业农村部 | 国家市场监督管理总局 | 新华网食品 | 中国经济网食品 | 人民网食品 | 央视网美食 | 光明网食品 | 全国糖酒商品交易会 | 红餐网 |
中国网食品频道坚持“给你一个真实的中国”的永恒追求,融合各地民族风俗、地方特产,延伸至整个食品行业,展示中国食品丰富性、多元性,搭建中国食品展示平台。
新闻热线:010-88564110
投诉建议:010-88564110
电子邮箱:
foodchina01@126.com
本网所有内容,凡注明”来源:中国网食品”的图片,版权均属中国互联网新闻中心所有,任何媒体、网站或个人未经本网协议授权不得转载。





农业农村部部长 韩长赋
杂交水稻育种专家 袁隆平
国家粮油信息中心高级经济师 王辽卫...
联合国粮农组织总干事 屈冬玉









